【產品用途】
XD371X信號蝶閥適用于消防系統中控制閥門,要求常開的場合,當閥門開或關到指定位置時,閥門上的信號裝置便可發出信號送至消防檢測中心可以顯示出蝶閥開啟或關閉,以防止閥門誤關閉而影響自動噴水滅火功能。
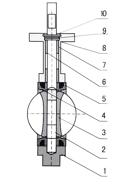
【結構示意圖】

圖中標注數字注釋:1表示閥體,2表示閥軸,3表示蝶板,4表示閥座,5表示填料,6表示襯套,7表示密封圈,8表示圓墊片,9表示對開環,10表示擋圈。
【性能參數】
| 信號蝶閥型號 | XD371X-10 | XD371X-16 | |
| 工作壓力(MPa) | 1.0 | 1.6 | |
| 適用溫度(℃) | ≤65℃ | ||
| 適用介質 | 水等 | ||
| 材料 | 閥體 | 鑄鐵 | |
| 蝶板 | 球墨鑄鐵(表面尼龍覆層) | ||
| 閥桿 | 鉻不銹鋼 | ||
| 閥座 | 丁晴橡膠 | ||
| 填料 | O形橡膠圈 | ||
| XD371X-10信號蝶閥 | ||||||||
| 通徑(mm) | L | D | K |
n-Фd |
H | H1 | W | W1 |
| 50 | 43 | 165 | 125 |
4-Ф18 |
80 | 320 | 266 | 90 |
| 65 | 46 | 185 | 145 |
4-Ф18 |
89 | 330 | 266 | 90 |
| 80 | 46 | 200 | 160 |
8-Ф18 |
95 | 340 | 266 | 90 |
| 100 | 52 | 220 | 180 |
8-Ф18 |
114 | 360 | 266 | 90 |
| 125 | 56 | 250 | 210 |
8-Ф18 |
127 | 380 | 266 | 90 |
| 150 | 56 | 285 | 240 |
8-Ф22 |
139 | 390 | 266 | 90 |
| 200 | 60 | 340 | 295 |
8-Ф22 |
175 | 525 | 125 | 90 |
| 250 | 68 | 395 | 350 |
12-Ф22 |
203 | 555 | 125 | 90 |
| 300 | 78 | 445 | 400 |
12-Ф22 |
243 | 610 | 190 | 90 |

Copyright ??熱力(上海)閥門制造有限公司 www.m.zcknitting.com 版權所有 滬ICP備16044061號 SEO支持:丹若科技
全國服務電話:15901990488
021-57520210 ? 傳真:15901990488
公司地址:上海市奉賢區浦衛公路1602、1626號202室
網站:http://www.m.zcknitting.com/